功能:
自愈式低壓并聯電容器主要使用在工頻系統中,用于提高電力系統的功率因數,改善電力系統的電能質量,提高供電系統的可靠性。
應用范圍:
應用于0.4kV、50Hz低壓配電系統。
訂貨范例:
具體型號:ANBSBJ-0.45-20-3
技術要求:共補,圓柱形
通訊協議:無
輔助電源:無
技術參數
1)自愈性:產品具有良好的自愈性能,即在電介質局部擊穿后,能自動迅速恢復其絕緣性能。
2)額定電壓:三相 450V、480V、525V;分補 250V、280V、300V。
3)容量偏差:不超過額定值的-5~+10%。
4)損耗:在工頻額定電壓下 20℃時,損耗角正切值不大于 0.0015。
5)過壓能力:允許在 1.1Un 下長期運行。
6)過流能力:允許在 1.3In 下長期運行。
7)耐壓:極對極施加 2.15Un,2s 不擊穿;極對殼施加 AC3kV,10s 不擊穿。
8)內置放電電阻:在斷電后 3 分鐘內可將端子上的電壓降低至 75V 以下。
9)內設過壓隔離裝置:一旦電容器出現故障,內部產生的過壓力將使隔離裝置動作,從而自動切斷電源。
正常工作條件
1)安裝海拔:高度≤2000m。
2)安裝環境:溫度-25℃~+50℃。
3)安裝場所:無劇烈機械震動,無有害氣體和蒸汽,無導電性和爆炸性塵埃。
4)電容器投入運行時,必須抑制合閘時涌流大小,應采用具有限流裝置的電容器專用接觸器或在電壓過零時投入的無觸點開關,也可以在電容器上串聯接入限流電抗器,以避免電容器的早期損壞,涌流的大小應限制在 100 倍額定電流以內。
圓柱形-分補
圓柱形-共補
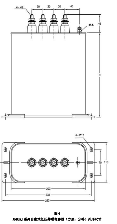
方形-分補
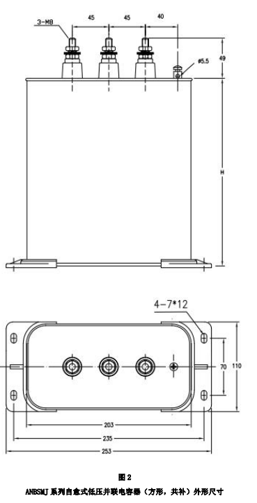
方形-共補
自愈式并聯電容器(分補)(圓柱形)
自愈式并聯電容器(共補)(圓柱形)
自愈式并聯電容器(分補)(方形)
自愈式并聯電容器(共補)(方形)
